#Àüü±â»ç
#½ÃÅ¥¸®Æ¼¿ùµå
#»ç°Ç»ç°í
#º¸¾È¸®Æ÷Æ®
#ÄíÆÎ ÇØÅ·
¡®ÂøÇÑ ´ñ±Û¡¯ ´Þ¸é »çȸºÀ»çȰµ¿À¸·Î ÀÎÁ¤
¡°±¹³» SW½ÃÀå ¿ÃÇØ ÇϹݱâºÎÅÍ È¸º¹¼¼ µ¹ÀÔ Àü¸ÁµÅ¡±
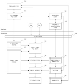
RFID, ´Ù½Ã º¸¾ÈÀ» »ý°¢ÇÏ´Ù
ÇÑ-ÀÏ, Á¤º¸º¸È£ °È À§ÇØ ¸Â¼Õ
È£½ºÆ®¿þÀÌ, CDP±â¹Ý ½Ç½Ã°£ À̹ÌÁö º¹±¸ ¼ºñ½º ¹«»óÁ¦°ø
SGA, Ŭ¶ó¿ìµå ÄÄÇ»ÆÃ º¸¾È¼Ö·ç¼Ç Àû¿ë ƯÇã ȹµæ
¾È·¦ Çϵ¿ÁÖ ¿¬±¸¿ø-ÇѾç´ë ¾È±âÂù¾¾ ¡®µ¥ÇÁÄÜ¡¯¼ °øµ¿ ¹ßÇ¥
Àç³ ½Ã¹Ä·¹À̼Ç, ¹Ì¸® ÁغñÇ϶ó
¡®ÁֹιøÈ£ Ŭ¸°¼¾ÅÍ¡¯¼ºñ½º °ü½ÉÁýÁß...»çÀÌÆ® ¸¶ºñµÅ
KT, 1G ÀÎÅÍ³Ý ½Ã¹ü¼ºñ½º ½Ç½Ã
1
¡°ÆÐÄ¡ ¾È µÈ ¼¹ö´Â ÇÊÆÐ¡±... ¿À¶óŬ À¥...
2
[2026 ³»ºÎÀÚ À§Çù ´ëÀÀ ¸®Æ÷Æ®] °¡Àå ...
3
°í·Á´ë, ¡®AIº¸¾È¿¬±¸¼Ò¡¯ Ãâ¹ü... ¡°´ëÇÑ...
4
¡°¸ÁºÐ¸® ÇÑ°è ³Ñ´Â´Ù¡± Â÷¼¼´ë º¸¾È ¾ÆÅ°ÅØÃ³...
5
¡°±³À° µ¥ÀÌÅÍ À庮 Çã¹®´Ù¡±... °³ÀÎÁ¤º¸À§...
RSS ¼ºñ½º|¡¸¿¸°º¸µµ¿øÄ¢¡¹ ´ç ¸Åü´Â µ¶ÀÚ¿Í ÃëÀç¿ø µî ´º½ºÀÌ¿ëÀÚÀÇ ±Ç¸® º¸ÀåÀ» À§ÇØ ¹Ý·ÐÀ̳ª Á¤Á¤º¸µµ, ÃßÈ帵µ¸¦ ¿äûÇÒ ¼ö Àִ â±¸¸¦ ¿¾îµÎ°í ÀÖÀ½À» ¾Ë·Áµå¸³´Ï´Ù.
°íÃæÃ³¸®ÀÎ ±ÇÁØ(kwonjun@boannews.com)